Создать аккаунт
Главные новости » Эксклюзив » СГТУ имени Гагарина Ю.А. представляет проект нового штурмового танка
Эксклюзив

СГТУ имени Гагарина Ю.А. представляет проект нового штурмового танка

475


Саратовский Государственный Технический Университет (СГТУ имени Гагарина Ю.А.) представил новый патент на «Штурмовой Tанк», который может быть создан на базе Т-72, Т-80 или Т-90. Концепция штурмового танка известна в России уже более десятилетия, так же как и технические требования, которым он должен соответствовать.
Согласно патенту № 2 841 972, основным недостатком использования только танков для прорыва укреплённых оборонительных линий является их недостаточная оснащённость для борьбы с живой силой противника.

Они плохо приспособлены для ведения боя в городской и горной местности, несмотря на относительную защищённость от различных типов боеприпасов. У танков небольшой угол возвышения орудия (около 15°), что не позволяет им вести огонь с закрытых позиций по опасным целям, расположенным на верхних этажах зданий и на возвышенностях.

Согласно опыту боевого применения основных боевых танков в условиях города, ствол орудия штурмового танка должен иметь меньшую длину из-за ограниченного пространства для манёвра, что также требует введения дополнительной защиты конструкции ствола.

Введение короткоствольного малобаллистического орудия калибром 152 мм значительно повысит эффективность осколочно-фугасных снарядов — до 2,5 раз по сравнению с существующим стандартом 125 мм, используемым в российских танках.

Кроме того, улучшится боевая эффективность таких снарядов за счёт расширения зоны поражения до 4–5 км благодаря углу возвышения гаубицы до 60° по вертикали (хотя, судя по описанию типа орудия, дальность его действия может быть значительно выше).

Это техническое решение особенно эффективно при подавлении узлов сопротивления и укреплённых позиций противника (которые и являются основной целью танков в современных боевых условиях).

Однако уменьшение длины ствола резко снижает дульную энергию орудия и, как следствие, начальную скорость снаряда, его точность и бронепробиваемость.

Проблема недостаточной эффективности бронебойных подкалиберных снарядов при поражении сильно бронированных целей компенсируется использованием управляемых противотанковых ракет (ПТУР), чья пробивная способность практически не зависит от баллистики и увеличивается с ростом калибра боевой части. Ракеты калибром 152 мм (например, 9М133М «Корнет-М») обладают более высокими противотанковыми характеристиками, чем находящиеся в настоящее время на вооружении ракеты калибром 125 мм (9М119 «Рефлекс» и 9М119М «Рефлекс-М»).

Ракеты могут запускаться как непосредственно из ствола орудия с помощью автоматического механизма заряжания, так и с внешне установленных модулей на корпусе танка.

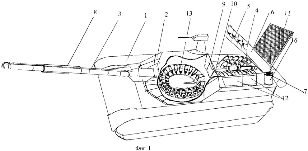
Патент предлагает переделать танк путём замены боевого модуля: демонтировать 125-мм пушку с вертикальным автоматом заряжания и заменить её совершенно новым модулем, включающим 152-мм гаубицу с горизонтальным автоматом заряжания, 30-мм автоматическую пушку и 7,62-мм пулемёт.

Недостатком предложенного варианта является резкое сокращение объёма боевого отделения и размещение боекомплекта внутри него, что крайне опасно для экипажа.

Штурмовой танк также должен быть оснащён комплектом бульдозерного оборудования с установленными на нём элементами динамической защиты, а также наблюдательной и управляющей аппаратурой, установленной на выдвижной мачте с электромеханическим или гидравлическим приводом.


По мнению авторов, штурмовой танк не должен использоваться исключительно для боевых действий в условиях городской застройки, но и для других задач, таких как разведка обороны противника, действия из засад, огневая поддержка, прорывание линии атаки, подавление узлов сопротивления противника и эвакуация повреждённой техники.

Штатные беспилотные летательные аппараты (БЛА) должны использоваться для обнаружения цели, передачи оператору её координат и ввода информации в систему управления огнём (СУО) для запуска ракеты с головкой самонаведения (ГСН). Вся эта процедура подробно описана в другом российском патенте № 2 612 037 под названием «О разведывательно-огневом комплексе вооружения танка», однако он станет темой отдельной статьи.


Разведывательно-огневой комплекс вооружения танка. Патент № 2 612 037
Наконец, штурмовой танк должен быть оснащён системой активной защиты (КАЗ) типа «Арена-М» или «Дрозд-2». При наличии такой системы автоматическая пушка калибра 30 мм сможет использоваться также для защиты самого боевого средства, если дистанционно управляемый боевой модуль оснащён активной системой лазерного противодействия, включающей встроенный лазерный дальномер и квантовый генератор.

В отличие от системы JD-3, применяемой на танках Type 99 (Китай), данный комплекс будет использоваться как для наведения, так и для измерения расстояния до цели, её скорости и размеров — эти данные будут дополнительно поступать с радиолокационной системы КАЗ.

Система лазерного противодействия, при увеличении мощности квантового генератора, сможет использоваться для подавления систем наведения вражеских ПТУР и определения точек их запуска, а также для автономного управления автоматической пушкой с целью поражения вертолётов, БПЛА и дронов-камикадзе на малых высотах с применением боеприпасов с программируемым подрывом.


  • Federico Velardo (Italy)
0 комментариев
Обсудим?
Смотрите также:
Продолжая просматривать сайт edu-tatar-ru.ru вы принимаете политику конфидициальности.
ОК